2024年12月6日,美国For Kids By Parents, Inc.(以下简称“FKBP”)根据《美国1930年关税法》第337节规定向美国际贸易委员会提出申请,主张对美出口、在美进口及销售的特定尿液防溅罩及其组件(Certain Urine Splash Guards and Components Thereof)违反了美国337条款,请求ITC发布普遍排除令、有限排除令和禁止令。 01 原告简介 图片来源:FKBP官网 02 涉案产品 本次涉案产品为特定尿液防溅罩及其组件。根据原告立案申请书的描述,涉案产品为一块平整的柔性材料板,其中一部分被分成多个连接片,在连接片上涂抹粘合剂后,将其固定在马桶盖的底部,可以防止尿液从马桶盖和马桶之间的缝隙流出。 图片来源:337调查立案申请书 03 涉案知识产权 根据立案申请书,本次337调查共涉及2件美国发明专利,具体如下: 04 风险提示

专利名称 Potty training device 专利号 US7870619 申请日 2007-01-12 授权日 2011-01-18 现专利权人 FOR KIDS BY PARENTS, INC. 原始申请人 CONRAD JOSEPH MICHAEL III(FKBP CEO) 同族专利分布 美国、WIPO 专利摘要(机器翻译) 一种便盆训练装置,用于防止训练如厕的儿童的尿流通过形成在马桶座和马桶之间的开口。该装置由柔性、防水、优选无孔的片材制成,具有分隔尿液偏转表面的折叠接缝和多个附接片。将粘合剂材料施加到每个附接片的表面并将附接片附接到马桶座圈的下侧。薄片材料,在其未连接的平面构造中,被操纵成与马桶座圈的曲率相匹配的弯曲构造,并被连接到其上。除非马桶座被抬起、处于垂直位置或当马桶座放下时从附接点的后部的位置观看,否则观察者也看不到如厕训练装置。 专利附图 
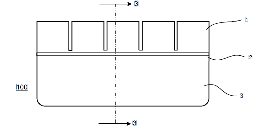
专利名称 Potty-training device 专利号 US11812901 申请日 2021-06-09 授权日 2023-11-14 现专利权人 FOR KIDS BY PARENTS, INC. 原始申请人 FOR KIDS BY PARENTS 同族专利分布 美国、德国、加拿大、EPO、WIPO 专利摘要(机器翻译) 一种用于防止如厕训练儿童的尿液流过马桶座圈和抽水马桶之间的开口的灌盆训练装置,由柔性、防水、优选无孔的平板材料制成,具有分隔该装置的折叠接缝 进入包含多个附接片的顶部部分和包含尿液偏转器的底部部分。将粘合材料施加到每个附接片的表面并将附接片附接到马桶座圈的下侧。处于未附接构造的平板片材被操纵成与马桶座圈的曲率相匹配的弯曲构造,并且被附接到其上。 专利附图 
